
INCH-POUND
AN6282 REV 5
14 November 2007
SUPERSEDING
AN6282 REV 4
21 April 1981
DETAIL SPECIFICATION SHEET
FUSE - HYDRAULIC QUANTITY MEASURING, CLASS 3000, TYPE II
Inactive for new design after 12 February 1996.
This specification is approved for use by all Departments and Agencies of the Department of
Defense.
The requirements for acquiring the product described herein shall consist of this specification
sheet, MIL-DTL-5508, and QPL-5508.
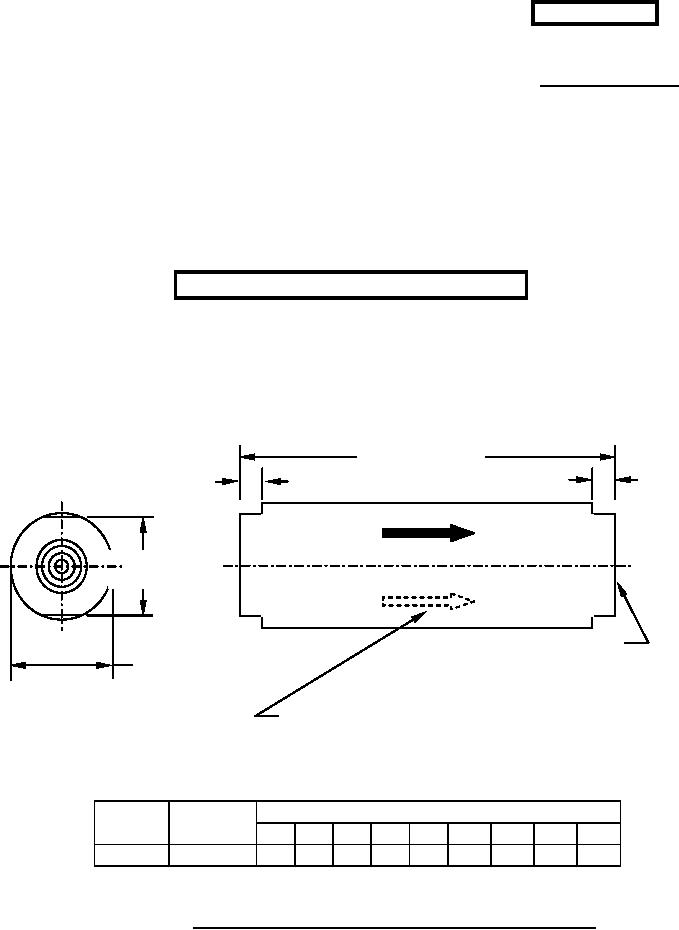
5.875 ±0.063
0.500 min
0.500 min
FLOW DIRECTION
+0.000
1.125
-0.031
FOR CLOSING
Port bosses in accordance
+0.063
with AND10050 for -8
1.250
-0.016
tube size, both ends.
Arrows, 180º apart, indicate direction of
flow for closing, permanent marking in
Note: Drawing not to scale.
accordance with procurement specification.
Dash
Tube OD
Rated volumetric capacity (cubic inches)
number
(inch)
10 20 40 60 80 120 160 200 250
8
0.5
XXXXX
X
X
X
X
FIGURE 1. Fuse - hydraulic quantity measuring, class 3000, type II.
AMSC N/A
FSC 1650