
MIL-DTL-5508C
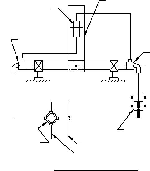
Rotating support arm
Fuse
Swivel joint
Swivel joint
Rotating axis
Fluid quantity
Measuring device
4-way directional
Return line
control valve
Pressure line
FIGURE 6. Typical installation for acceleration test.
17
For Parts Inquires submit RFQ to Parts Hangar, Inc.
© Copyright 2015 Integrated Publishing, Inc.
A Service Disabled Veteran Owned Small Business